개요: 통상의 기술적 용어로 기술적 특징을 표현 할 경우 해당 기술적 특징을 어떻게 해석 할 것 인가에 따라 특허 유효성에 영향을 미치게 된다. 통상의 기술적 용어로 표현되는 기술적 특징을 해석함에 있어서, 해당 통상의 기술적 용어 자체의 정의에 포함되여 있는 구성 및 특성도 포함하여야 할 것이다. 비록 통상의 기술적 용어가 당업자에게 널리 알려지고 있지만 통상의 기술적 용어로 표현된 기술적 특징을 특정된 특허발명에 응용하는 것이 기필코 공지상식 이라고 판단할 수 없다. 처음으로 공지부품을 이용하여 특정적인 기술적 과제를 해결하는 발명에 있어서 통상의 기술적 용어로 공지부품을 표현 함으로서 특허권자의 공개범위를 합리적으로 제한하여 기술적 노하우를 키프할 수 있다.
특허 실체 심사 및 무효 심판 등 특허 유효성 판단에 있어서 불가피하게 명세서 및 청구범위에 기재된 기술적 특징을 해석하여야 할 것이다. 이러한 기술적 특징의 해석은 유효성 판단의 근본이기도 하다.
실무 상 다종다양한 용어로 기술적 특징을 표현하기도 한다. 중국 현행법에 따르면 특허권자가 스스로 정의한 용어의 사용을 허용하고 있지만 통상의 기술적 용어를 사용하는 것이 보다 보편적이다. 중국 <심사지침서> (2010판)제2부분 제2장 제3.2.2절의 규정에 따르면 “청구범위의 보호범위는 기재된 용어의 의미에 따라 이해하여야 한다. 통상의 경우 청구항에 사용된 용어는 해당 발명이 속하는 기술분야에서 갖고 있는 통상적 의미로 이해 하여야 한다.”
모 발명의 창작점이 해당분야의 공지 부품을 사용함에 있을 경우 명세서 및 청구항에서 통상의 기술적 용어로 대응되는 기술적 특징을 기재할 경우, 명세서의 충분 공개 여부 및 진보성 우무 등 특허 유효성을 판단함에 있어서 상기 통상의 기술적 용어를 어떻게 해석하여야 할 것인가? 본 문은 전형적 사례의 분석을 통하여 상기 이슈에 대한 필자의 이해와 생각을 공유하고자 한다.
1. 사건 개요
해당 특허는 2016년도 무효 10대 사례 중 하나인 “신형 카메라 가이드 레일”이라는 실용신안(하기 “본 고안”으로 칭함)의 무효 심판 사례이다.
(1) 사건 기본 정보
무효 심판 청구일: 2016년3월2일
무효 심판 번호: 29889
고안의 명칭: 신형 카메라 가이드 레일
출원번호: 201320578735.3
출원일: 2014년11월21일
특허권자: 중산대산촬영기구유한회사
무효심판청구인: 혜주시납도촬영기구유한회사
무효 이유: 특허법 제22조 제3항 및 제26조 제3항, 제4항의 규정에 부합되지 아니한다.
무효증거 1: CN202522832U
심사 결과: 특허 유효성 인정 권리 유지.
(2) 본 고안

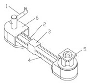
본 고안 도 1 본 고안 도 3
본 고안의 배경기술에 하기 내용이 기재되여 있다. 카메라는 안정된 이동을 유지하면서 촬영을 진행 하여야 하는데 이러한 경우 카메라 가동 레일 장치를 사용하여야 한다. 사용 시 카메라를 장착 플랫폼을 구비하는 카메라 가동 레일의 슬라이드 블록에 설치한다. 슬라이드 블록이 가동레일에서 슬라이드 되면서 카메라를 슬라이드 이동시킨다. 하지만 종래기술에 있어서 카메라가 레일에서 슬라이드 이동 시 원활하게 이동하지 못하고 안정성을 유지하기 어려우며 그 결과 촬영 화면이 떨리고 쵤영이 안정적이지 못하는 문제점이 존재한다.
본 고안에 따른 신형 카메라 가이드 레일(독립항 1)은 카메라 기구를 고정시키는 장착 플랫폼을 구비하는 슬라이드 블록(10), 2개 서로 평형되게 형성된 가이드 바(20), 및 2개 가이드 바 고정 시트(30)를 포함하며, 상기 2개 가이드 바의 양단은 각각 2개 가이드 바 고정 시트에 고정되여 있고 상기 슬라이드 블록은 하단의 슬라이드 구조에 의하여 2개의 가이드 바에 크램핑되어 2개 가이드 바에서 슬라이드 이동을 진행한다. 상기 2개 가이드 바 고정 시트에 각각 회전축(50)을 1개씩 설치하고, 상기 회전축에 동기 휠(60)을 설치하고, 상기 2개 가이드 바사이에 가이드 바와 평형되게 형성된 동기 벨트(70)를 설치하고, 상기 동기 벨트의 한 단부는 슬라이드 블록의 일측에 고정되고 다른 한 단부는 순차적으로 2개 회전축 위에 형성된 동기 휠을 크로스해서 슬라이드 블록의 다른 일측에 고정되며 그 중 하나의 회전축의 상단의 헤드에서 연장된 가이드 바 고정 시트의 상부에1개 프라이휠(80, fly wheel)이 고정되여 연결된다.
(3) 증거1

증거 1 도 1
증거1의 배경 기술에 기재된 기술적 과제는 다음과 같다. 슬라이드 블록을 수동적으로 작동시켜 슬라이드 이동을 실현하는 기존의 카메라는 정밀도가 낮고 장거리 이동이 어려우며 슬라이드 이동의 균일성이 낮고 장기간 작업하기 어려운 문제가 있어 카메라 가동 레일 장치를 회전식 또는 모터 구동식으로 개량시켰다.
증거1에 따른 카메라 가이드 레일에 있어서 핸들1은 나사에 의해 가동레일2의 한단부에 설치되여 있는 동기휠6내에 위치하는 동기휠의 회전축에 고정되여,상기 동기휠의 회전을 통하여 상기 동기 벨트4의 슬라이드 이동을 이끌어 내여,슬라이드 블록3이 가동레일2에서 슬라이드 이동하도록 한다. 가동레일2의 다른 한 단부에 형성된 동기6에 모터 프레임5이 설치되여 있고, 모터 프레임5에 모터가 설치되여 있으며, 모터가 동기 휠을 구동시키는 것에 의하여 동기 벨트4가 슬라이드 이동되고 슬라이드 블록3이 가동레일2 에서 슬라이드 이동할수 있게 된다. 증거1의 핸들과 모터는 단독적으로 사용될 수도 있고 상호 결합되여 사용될 수도 있다.
(4) 쟁점
양 당사자의 주요한 쟁점은 “프라이휠”이라는 기술용어에 대한 해석에 있다.
무효 심판 청구인은 하기와 같은 주장을 제기하였 다. 본 고안 청구항1에서는 프라이휠이 관성 에너 지 축적 및 완충 작용을 구비한다는 한정이 기재 되여 있지 아니하며 프라이휠의 외형 및 명세서의 기재 내용으로 부터 프라이휠이 로킹휠의 작용을 갖고 있으며 로킹휠과 같은 구조를 구비한 다는 것을 알수 있다. 증거1에서는 핸들이 공개되여 있으며 핸들의 작용은 로킹휠의 작용을 가진 프라이휠과 동일하다.
상기 주장에 대하여 특허권자는 하기와 같은 항변을 제기하였다. 프라이휠은 해당 분야의 전문용어이고 프라이휠과 로킹휠은 완전히 서로 다른 기계부품으로서 서로 다른 의미를 갖고 있으며 그 기술적 효과도 완전히 상이하며 증거1 의 핸들은 본 발명의 프라이휠과 완전히 다른 부품이다.
(5) 복심위원회 심결의 핵심적 내용
ㄱ. 명세서 충분 공개 여부에 있어서
무효 심판 청구인은 본 고안 명세서에서 프라이 휠의 지름의 크기 및 질량 등 수치를 기재하지 아니하였으므로 충분히 공개되지 아니하였다고 주장하였다.
상기 주장에 대하여 합의체에서는 아래와 같이 분석하였다.
우선, “프라이휠”은 통상의 기술적 용어로서 회전 관성이 아주 큰 원형 부품을 표현하며 에너지를 저축하는 작용을 갖고 있다. 즉 프라이휠 이라는 부품 및 그의 작용은 당업자에 있어서 명확한 것이며 본 고안 중의 기재 내용과 일치하다.
다음, 본 고안이 해결하고자 하는 과제는 기존 카메라 가동레일은 슬라이드 블록을 가동레일의 홈에 네스트 시켜 함께 슬라이드 이동하는 방식으로 이동할 경우 원활하지 못하고 안정성 유지도 어려운 결과 촬영 화면이 떨리고 안정적이지 못하다는 문제를 해결하고자 한다. 상기 과제를 해결하기 위하여 본 고안은 동기 벨트로 슬라이드 블록을 양단측에 설치되여 있는 회전축 및 동기 휠을 연결시킴으로서 슬라이드 블록이 이동하는 경우, 회전축 및 동기 휠도 동시에 회전되고 그중 하나의 회전축에 설치되여 있는 프라이휠을 이용하여 슬라이드 블록이 가이드 바에서의 슬라이드 이동 중에서 생기는 흔들림을 완화시키고 상쇄시켜 슬라이드 블록의 플랫폼에 설치되여 있는 카메라 기구가 슬라이드 이동 중 원활하고 안정한 이동을 유지시킴으로서 촬영된 이미지의 품질 및 효과를 확보하는 것이다. 본 고안 명세서 제[0022]-[0025] 단락에서 프라이휠을 설치하는 위치, 작업 원리, 및 기술적 효과를 상세하게 기재하였다. 그러므로 본 고안 명세서를 통하여 당업자가 종래 기술 중에 존재한 문제를 해결하기 위하여 본 고안 명세서에 기재된 구체적 구조로부터 소정의 관성 효과를 얻기 위하여 상응한 재료, 프라이휠의 두께, 지름의 크기, 중공 구조의 사용 여부 등을 결정할 수 있으며 이러한 수치는 당업자가 실제 수요에 따라 명확하게 결정 할수 있는 것이며 본 고안 명세서에 따른 카메라가 가이드 레일을 따라 안정하게 슬라이드 이동되는 기술적 효과만 실현 할수 있으면 된다.
ㄴ. 독립항1의 진보성 우무 판단에 있어서
합의체는 증거1에 대비하여 본 고안의 청구항1의 가장 중요한 차이점은 프라이휠이 고정연결되여 있다는 특징에 관한 것이라고 판단하였다.
합의체에서는 아래와 같이 분석하였다.
우선, “프라이휠”은 통상의 기술적 용어로서 회전 관성이 아주 큰 원형 부품의 표현으로 에너지 저축기와 같은 작용을 갖고 있다. 그러므로 당업자에 있어서 “프라이휠”이라는 부품은 관성 에너지 축적 부품으로 질량이 아주 크고 아주 큰 관성을 산생한다는 의미를 표현하고 있다.
다음, 본 고안은 프라이휠의 회전 관성이 크다는 물리적 특성을 이용하여 동기 벨트 및 동기 휠과 함께 작용 함으로서 슬라이드 블록이 가이드 바에서의 슬라이드 이동 중에서 발생되는 흔들림을 완화시키고 상쇄시켜 슬라이드 블록의 플랫폼에 설치되여 있는 카메라 기구가 슬라이드 이동 중 원활하고 안정한 이동을 유지시킴으로서 촬영된 이미지의 품질을 확보한다. 하지만 증거1에서 핸들을 설치하는 목적은 핸들을 회전시켜 동기 휠의 회전을 이끌어 내며 따라서 동기 벨트4의 슬라이드 이동을 이끌어 내여 슬라이드 블록3이 가동레일 에서의 슬라이드 이동을 이끌어 내는 것이다. 증거1이 해결하고자 하는 과제는 핸들 회전 또는 모터 구동으로 수동작업을 교체하는 것이며 핸들은 구동장치로서 일정한 강도를 유지하는 전제하에 핸들 자체의 질량에 대하여 별다른 요구는 없다. 수동적인 작업에 대비하여 핸들을 회전시켜 슬라이드 블록이 슬라이드 이동을 진행하므로 슬라이드 이동의 균일성은 상대적으로 높아졌으나 여전히 이동 중의 원활성 및 안정성이 낮은 문제가 존재하고 있다.
그다음, 프라이휠은 휠의 형상으로서 로킹휠, 즉 핸들의 작용을 동시에 이르킬 수 있지만 이 핸들 작용은 본 고안에서 프라이휠이 달하고자하는 작용이 아니며 당업자가 해당 부품에 대한 통상적 이해도 아니다. 더욱 중요한 것은 상기 작용은 본 고안이 종래기술의 문제를 해결하기 위하여 프라이휠을 사용하게 된 목적이 아니라는 것이다. 본 고안은 큰 질량 관성을 가진 원형상의 프라이휠을 설치함으로서 프라이휠이 회전하는 과정 중에서 에너지를 저축시키는 동시에 회전하는 관성을 통하여 슬라이드 블록이 슬라이드 이동 중 정지 및 속도 변화로 인한 파동을 상쇠시키고, 심지어 슬라이드 블록에 인가된 외력에 의해 정지될 경우 프라이휠80은 에너지를 방출하여 슬라이드 블록이 프라이휠을 따라 관성으로 일정한 거리 슬라이드 이동할 수 있게 한다.
마지막으로, 당업자가 증거1의 발명을 해독하고 나서 핸들은 작업부품 이므로 통상적인 기술적 상식에 따르면 쉽게 작업할 수 있도록 핸들의 질량을 감소시켜야 한다. 하지만 이런 사상은 본 고안에 따른 프라이휠이 큰 질량 관성을 가져야 한다는 발명과 서로 모순되는 것이다.
2. 사례 분석
이상의 복심위원회 심결에 대한 분석을 통하여 아래와 같은 경험을 얻을수 있다고 본다.
(1) 통상의 기술적 용어로 표현되는 기술적 특징은 해당 통상의 기술적 용어 자체의 정의에 포함되는 구성 및 특성도 포함해야 한다고 해석될 것이다.
합의체는 명세서 충분 공개 여부 및 진보성 우무 판단에 있어서 해당 발명이 속하는 기술분야의 통상의 기술적 용어 인 “프라이휠”이 포함되여 있는 구성 및 물리적 특성을 기초로, 즉 프라이휠은 질량이 아주 크고 회전 관성이 큰 원형상의 부품이며 관성 에너지 저축 부품이라는 것을 기초로 판단을 진행하였다. 또한 합의체는 통상의 기술적 용어 인 “프라이휠” 자체가 포함 된 “질량이 크다”는 특성에서 출발하여 증거1과 대비한 결과 증거1은 질량이 작은 부품을 사용해야 하고 이는 큰 질량을 사용하여 한다는 본 고안의 사상과 상호 모순되는 것이라고 판단하였다.
이로부터 알수 있는바, 비록 명세서에서 프라이휠 의 구성 및 질량 특성 등에 관한 상세한 기재는 없었고 독립항1 에서도 프라이휠은 “질량이 크고 원형”이라고 한정되지 않았지만 본 고안 기술방안을 이해함에 있어서 상기 통상의 기술적 용어에 포함되여 있는 “질량이 크고 원형” 이라는 내용을 보호범위에 포함되여야 한다고 해석 하였으며 이로서 증거1과의 구별점을 명확하게 하였다. 이러한 해석은 합리적이고 객관적이며 공정한 것으로 본다.
(2) 비록 통상의 기술적 용어는 당업자에게 널리 알려지고 있지만 통상의 기술적 용어로 표현된 기술적 특징을 특정된 발명에 응용하는 것이 기필코 공지상식 이라고 판단할 수 없다.
본 고안에 있어서 비록 “프라이휠”이라는 용어는 당업자에게 널리 알려지고 있지만 카메라 가이드 레일에 프라이휠을 응용시키므로 슬라이드 이동의 불 안정성을 해결한다는 것을 공지상식이라고 판단하여서는 아니되며 또한 공지상식이라고 입증 할 만한 증거도 없다.
이와 반대로 프라이휠은 특정된 의미 (질량이 크고 회전 관성이 큰 원형상의 부품) 및 작용(에너지 저축 작용)을 갖고 있는 동시에 본 고안에 따른 카메라 가동 레일 중에 응용되여 슬라이드 이동 중 안정성을 확보할수 있는 유익한 기술적 효과를 획득할 수 있기에 본 고안은 진보성을 구비한다고 판단된 것이다.
(3) 특정적인 기술적 과제를 해결하기 위하여 처음으로 공지 부품을 응용시킨 특허에 있어서 통상의 기술적 용어로 상기 공지 부품을 표현하므로서 특허의 공개범위를 일정한 정도로 제한할 수 있으며 기술적 노하우를 키프 할수 있다는 우점이 있다.
본 고안은 처음으로 프라이휠을 이용하여 카메라 슬라이드 이동 중의 불안정성을 해결 하였으며 명세서에서는 프라이휠을 이용한 카메라 가이드 레일의 구조를 공개하였다. 이러한 공개 정도는 충분히 공개하여야 한다는 요건을 만족시킨다. 프라이휠의 구체적인 질량 및 재료, 및 프라이휠의 두께, 지름의 크기 등 구체적 수치는 실제의 실시에 따라 설치할 수 있으며 또한 이러한 구체적인 수치는 특허권자의 노하우 일 수 있기에 공개하지 아니하므로 노하우를 키프 할수 있다.
만약, 프라이휠을 이용하여 카메라의 슬라이드 이동의 안정성을 유지시킨다는 종래 기술이 이미 존재 할 경우 본 고안은 창작점은 프라이휠의 구조를 개량시켜 더욱 안정한 슬라이 이동 효과를 구비하는데 있고 이러한 경우 프라이휠의 질량 및 구체적인 재료, 두께, 지름의 크기 등 구체적 수치를 공개하여야 한다고 본다.
본 고안은 종래기술의 현황을 정확하게 파악하고 이에 따라 통상의 기술적 용어로 기술적 특징을 표현함으로서 명세서의 충분 공개 요건을 충분히 만족시켜 “공개의 대가로 권리를 부여”한다는 특허의 취지를 지킴과 동시에 특허권자의 노하우를 키프하고 경쟁사의 카피를 방지할 수 있다. 뿐 만아니라 구체적인 수치에 관한 개량기술 을 키프하므로서 향후 특허권의 업그래이드 등 특허 포트폴리오 전략을 확보함에도 유리할 것이다.